ST
● Haga clic en el número de modelo abajo para ver el dibujo (arriba) con la dimensión aplicable para el numero de modelo correspondiente.
Bearing Number
※ Puede comprobar el contenido desplazándose hacia la izquierda / derecha.
| Bearing Number | Maximum Stroke |
Basic Dynamic Rated Load C kN |
Basic Static Rated Load Co kN |
Weight g |
Bearing Number | Maximum Stroke |
Basic Dynamic Rated Load C kN |
Basic Static Rated Load Co kN |
Weight g |
Major Dimensions mm |
||||||||||
|---|---|---|---|---|---|---|---|---|---|---|---|---|---|---|---|---|---|---|---|---|
| Diameter of Inscribing Circle dr |
Outer Diameter D |
Length L |
l1 | T | t | d | r | |||||||||||||
| Tolerance | Tolerance | Tolerance | ||||||||||||||||||
| ST 6 | 14 | 0.98 | 0.23 | 8.0 | - | - | - | - | - | 6 | +0.018 +0.010 |
12 | 0 +0.00 |
19 | 0 -0.2 |
13.5 | 1.1 | 0.25 | - | 0.3 |
| ST 8 | 24 | 0.98 | 0.27 | 16.4 | ST 8B | 8 | 2.06 | 0.55 | 17.6 | 8 | +0.022 +0.013 |
15 | 24 | 20.1 | 1.5 | 0.5 | 1.5 | 0.5 | ||
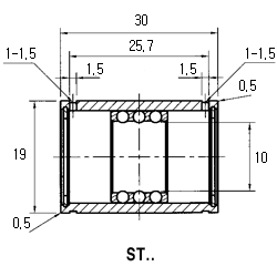
| ST 10 | 30 | 2.35 | 0.62 | 31.5 | ST 10B | 8 | 4.61 | 1.27 | 34.5 | 10 | 19 | 0 - 0.009 |
30 | 25.7 | 1.5 | 0.5 | 1.5 | 0.5 | ||
| ST 12 | 32 | 4.02 | 1.08 | 47 | ST 12B | 8 | 8.14 | 2.25 | 53.5 | 12 | +0.027 +0.016 |
23 | 32 | 27.5 | 1.5 | 0.5 | 1.5 | 0.5 | ||
| ST 16 | 40 | 4.02 | 1.27 | 77 | ST 16B | 16 | 8.04 | 2.65 | 85 | 16 | 28 | 37 | 32.1 | 1.5 | 0.5 | 1.5 | 0.5 | |||
| ST 20 | 54 | 4.12 | 1.57 | 109 | ST 20B | 28 | 8.33 | 3.24 | 120 | 20 | +0.033 +0.020 |
32 | 0 - 0.011 |
45 | 39.8 | 2 | 0.5 | 2 | 0.5 | |
| ST 25 | 54 | 4.12 | 1.76 | 128 | ST 25B | 28 | 8.14 | 3.63 | 142 | 25 | 37 | 45 | 0 -0.3 |
39.8 | 2 | 0.5 | 2 | 1 | ||
| ST 30 | 82 | 9.31 | 4.12 | 240 | ST 30B | 44 | 18.7 | 8.14 | 275 | 30 | 45 | 65 | 58.5 | 2.5 | 0.5 | 2.5 | 1 | |||
| ST 35 | 92 | 9.41 | 4.51 | 370 | ST 35B | 54 | 18.7 | 9.02 | 410 | 35 | +0.041 +0.025 |
52 | 0 - 0.013 |
70 | 63.5 | 2.5 | 0.7 | 2.5 | 1.5 | |
| ST 40 | 108 | 12.5 | 6.18 | 570 | ST 40B | 66 | 25.0 | 12.4 | 635 | 40 | 60 | 80 | 73.3 | 2.5 | 0.7 | 2.5 | 1.5 | |||
| ST 45 | 108 | 12.6 | 6.76 | 625 | ST 45B | 66 | 25.2 | 13.5 | 695 | 45 | 65 | 80 | 73.3 | 2.5 | 0.7 | 2.5 | 1.5 | |||
| ST 50 | 138 | 16.3 | 8.82 | 910 | ST 50B | 88 | 32.5 | 17.7 | 1,020 | 50 | 72 | 100 | 92.4 | 3 | 1 | 3 | 1.5 | |||
| Bearing Number | Maximum Stroke |
Basic Dynamic Rated Load C kN |
Basic Static Rated Load Co kN |
Weight g |
Bearing Number | Maximum Stroke |
Basic Dynamic Rated Load C kN |
Basic Static Rated Load Co kN |
Weight g |
Basic Static Rated Load mm |
||||||||||
|---|---|---|---|---|---|---|---|---|---|---|---|---|---|---|---|---|---|---|---|---|
| Diameter of Inscribing Circle dr |
Outer Diameter D |
Length L |
l1 | T | t | d | r | |||||||||||||
| Tolerance | Tolerance | Tolerance | ||||||||||||||||||
| ST 8UU | 14 | 0.98 | 0.27 | 17 | - | - | - | - | - | 8 | +0.022 +0.013 |
15 | 0 | 24 | 0 -0.2 |
15.3 | 1.5 | 0.5 | 1.5 | 1 |
| ST 10UU | 16 | 2.35 | 0.62 | 31 | - | - | - | - | - | 10 | 19 | 0 - 0.009 |
30 | 18.5 | 1.5 | 0.5 | 1.5 | 1 | ||
| ST 12UU | 17 | 4.02 | 1.08 | 49 | - | - | - | - | - | 12 | +0.027 +0.016 |
23 | 32 | 20.1 | 1.5 | 0.5 | 1.5 | 1 | ||
| ST 16UU | 24 | 4.02 | 1.27 | 80 | - | - | - | - | - | 16 | 28 | 37 | 24.1 | 1.5 | 0.5 | 1.5 | 1 | |||
| ST 20UU | 32 | 4.12 | 1.57 | 112 | ST 20UUB | 12 | 8.33 | 3.24 | 125 | 20 | +0.033 +0.020 |
32 | 0 - 0.011 |
45 | 30.8 | 2 | 0.5 | 2 | 1 | |
| ST 25UU | 32 | 4.12 | 1.76 | 132 | ST 25UUB | 12 | 8.14 | 3.63 | 145 | 25 | 37 | 45 | 0 -0.3 |
30.8 | 2 | 0.5 | 2 | 1 | ||
| ST 30UU | 65 | 9.31 | 4.12 | 245 | ST 30UUB | 27 | 18.7 | 8.14 | 280 | 30 | 45 | 65 | 50.1 | 2.5 | 0.5 | 2.5 | 1 | |||
| ST 35UU | 75 | 9.41 | 4.51 | 375 | ST 35UUB | 37 | 18.7 | 9.02 | 420 | 35 | +0.041 +0.025 |
52 | 0 - 0.013 |
70 | 55.1 | 2.5 | 0.7 | 2.5 | 2 | |
| ST 40UU | 91 | 12.5 | 6.18 | 580 | ST 40UUB | 49 | 25.0 | 12.4 | 640 | 40 | 60 | 80 | 64.9 | 2.5 | 0.7 | 2.5 | 2 | |||
| ST 45UU | 91 | 12.6 | 6.76 | 635 | ST 45UUB | 49 | 25.2 | 13.5 | 705 | 45 | 65 | 80 | 64.9 | 2.5 | 0.7 | 2.5 | 2 | |||
| ST 50UU | 120 | 16.3 | 8.82 | 920 | ST 50UUB | 70 | 32.5 | 17.7 | 1,030 | 50 | 72 | 100 | 83.4 | 3 | 1 | 3 | 2 | |||
- Nota) Este producto se fabrica a pedido.
















































