JM(inch)
● 点击下端的名称代码,即可确认适用对应数值的图纸(上端)。
※ 您可以通过向左/向右滚动来检查内容。
| Bearing Number |
Weight gr. |
Major Dimensions inch/mm |
Tilting Angle a° |
Ball Radius mm |
Static Load Capacity Co/Kgf |
|||||||||
|---|---|---|---|---|---|---|---|---|---|---|---|---|---|---|
| d | Scraw KS Class 2 / S |
D | B | B1 | d1 | L | L1 | L2 | r | |||||
| JM 3/16 | 12.5 | 3/16 | NO.10-32 | 0.6693 17 |
0.2362 6 |
0.3150 8 |
0.3031 7.7 |
1.6535 42 |
1.3189 33.5 |
0.7874 20 |
0.0197 0.5 |
13 | 0.4375 11.11 |
350 |
| JM 1/4 | 19 | 1/4 | 1/4 x 28 | 0.7283 18.5 |
0.2677 6.8 |
0.3543 9 |
0.3543 9 |
1.8504 47 |
1.4862 37.75 |
0.8661 22 |
0.0197 0.5 |
13 | 0.5000 12.70 |
500 |
| JM 5/16 | 32 | 5/16 | 5/16 x 24 | 0.9055 23 |
0.3543 9 |
0.4724 12 |
0.4094 10.4 |
2.1260 54 |
1.6732 42.5 |
0.9843 25 |
0.0197 0.5 |
13 | 0.6250 15.87 |
700 |
| JM 3/8 | 54 | 3/8 | 3/8 x 24 | 1.0630 27 |
0.4133 10.5 |
0.5512 14 |
0.5078 12.9 |
2.4409 62 |
1.9094 48.5 |
1.1417 29 |
0.0197 0.5 |
13 | 0.7500 19.05 |
1,100 |
| JM 7/16 | 85 | 7/16 | 7/16 x 20 | 1.2598 32 |
0.4764 12.1 |
0.6299 16 |
0.6220 15.8 |
2.8740 73 |
2.2440 57 |
1.3386 34 |
0.0197 0.5 |
13 | 0.8858 22.5 |
1,700 |
| JM 1/2 | 85 | 1/2 | 1/2 x 20 | 1.2598 32 |
0.4764 12.1 |
0.6299 16 |
0.6220 15.8 |
2.8740 73 |
2.2440 57 |
1.3386 34 |
0.0197 0.5 |
13 | 0.8858 22.5 |
1,700 |
| JM 5/8 | 185 | 5/8 | 5/8 x 18 | 1.4960 38 |
0.5906 15 |
0.8268 21 |
0.7598 19.3 |
3.4055 86.5 |
2.6574 67.5 |
1.5748 40 |
0.0197 0.5 |
15 | 1.1220 28.5 |
2,550 |
| JM 3/4 | 340 | 3/4 | 3/4 x 16 | 1.9685 50 |
0.7086 18 |
0.9843 25 |
0.9370 23.8 |
4.3110 109.5 |
3.3268 84.5 |
2.0866 53 |
0.0197 0.5 |
15 | 1.3582 34.5 |
3,500 |
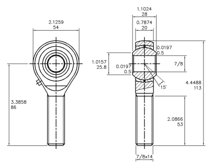
| JM 7/8 | 435 | 7/8 | 7/8 x 14 | 2.1259 54 |
0.7874 20 |
1.1024 28 |
1.0157 25.8 |
4.4488 113 |
3.3858 86 |
2.0866 53 |
0.0197 0.5 |
15 | 1.5000 38.10 |
4,200 |
| JM 1'' | 600 | 1" | 1" x 12 | 2.5196 64 |
0.8661 22 |
1.2204 31 |
1.1732 29.8 |
5.0394 128 |
3.7795 96 |
2.2835 58 |
0.0197 0.5 |
15 | 1.6929 43 |
5,500 |
- 备注)标有“R”的是机壳以白色镀金的右旋螺丝,标有“L”的是机壳以黄色镀金的左旋螺丝。














